您的當前位置:首頁 > 產品知識 > 更多產品知識 > 球磨機出料裝置結構介紹
作者:紅星機器 發布時間:2018-02-27 11:26:37
球磨機適用于研磨各種礦石及其它物料,被廣泛用于選礦,建材及化工等行業,可分為干式和濕式兩種磨礦方式,根據排礦方式不同,可分格子型和溢流型兩種,中心傳動球磨機出料端的結構形式有三種,下面做簡要介紹。



1、如圖1所示的中心傳動中心卸料端。它的卸料篦子1用螺栓5與磨頭2連結在一起,在卸料篦子與磨頭之間有葉板4,在葉板中間裝有卸料錐3,物料由卸料篦子1的孔排出后,被葉板4帶起,當物料被帶到上部時,便由葉板上滑下,經卸料錐3滑到軸頸內的截頭漏斗6內,后從中間接管7上的橢圓孔落到控制篩8上,篩8用螺釘固定到中間接管7的法蘭盤上,隨法蘭盤旋轉。9為卸料罩子,物料成品由罩子底部卸出,落入運輸機中,沒有通過篩子的粗粒物料,沿篩子滑下來從孔10卸出。

圖 1 中心傳動球磨機中心卸料裝置
2、圖2是一種中心傳動邊緣卸料的裝置。在球磨機端蓋內表面和卸料篦板3之間,形成一個環行空間,在端蓋壁上等距切割橢圓形孔2,物料從此孔卸出,落到外罩下部(圖中外罩未畫出)。

圖 2 中心傳動邊緣卸料裝置
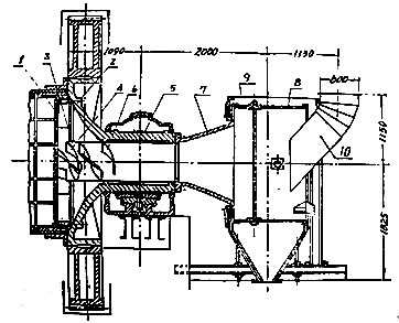
3、邊緣傳動球磨機的卸料端(圖3)。卸料篦子1和磨頭2間有葉片3,在篦子的中部裝有螺旋葉片4,葉片3能將物料帶起并撒在螺旋葉片4上,通過螺旋葉片4和裝在套筒5里的螺旋葉片6使物料順暢地從軸頸中卸出,7為漏斗,用螺釘固定在軸頸的端面上,物料沿著漏斗落到控制篩8上,9為機罩,10為通風管道與排風機和收塵系統相聯結。

圖 3 邊緣傳動球磨機的卸料端
主軸承是球磨機的支承部件,球磨機的全部重量和研磨體與物料的重量及離心力等都由主軸承承受。
球磨機是以空心軸支承于主軸承上的,由于物料是由空心軸內出入球磨機,所以空心軸的外徑和主軸承軸瓦直徑都比較大,管磨機的主軸承軸瓦內徑為600~1400毫米,球磨機回轉時各作用力的合力方向近似垂直向下,因此主軸承只需要下軸瓦。
球磨機主軸承采用滑動軸承結構(滑動軸承都設計成自位調心的)的有兩大類:一種是把自動調心的球面置于殼體之外如圖4;還有一種是把球面置于殼體之內如圖5。

圖 4 調心球面在殼體外的主軸承
圖4主軸承的軸瓦4支承在凹形球面的軸承面6上,軸瓦下面具有凸形球面,而上部澆注軸承合金,軸承座和軸瓦的接觸球面要精加工,這樣球磨機工作時,可靈活地自動調位,可消除軸瓦局部過負荷的可能性。由于軸承上蓋不承受載荷,為了減輕制造工作量,減輕重量,它可采用鋼板焊接的結構,用螺栓2與瓦座剛性聯結;為了防止軸瓦從軸承座內滑出,利用圓柱形銷13穩定在軸承座上;為了防止灰塵由軸瓦側邊和中空軸之間縫隙進入軸承內,并防止潤滑油流出,在軸瓦兩側用螺栓固定密封圈11,每一個密封圈都由兩半組成,用毛氈10密封。
當中空軸回轉時,在環行槽內充滿了潤滑油則同樣起密封作用,潤滑油沿著油管9進入軸承,油管一端封閉,下部壁上分布許多小孔,潤滑油通過這些小孔,沿著回轉中空軸均勻分布,用過的油,由軸瓦下部接管12和與其相連的集油管而流入循環油系統的過濾裝置。
這兩種主軸承比較起來:金屬用量方面“外球面”的比較?。惠S承密封,“外球面”的比較優,因為軸承兩側的密封圈有可能隨調心球面瓦一起自動調整,減小縫隙。但這種“外球面”軸承儲油量較少,有時需要另外的油池或油箱,使系統復雜化,另外“外球面”的球瓦比較形大體重,則在機械加工和澆注軸承襯時比較麻煩。

圖 5 調心球面在殼體內的主軸承
1-軸承座;2-軸承上蓋;3-掛油器;4-架板;
5-掛油刷;6-鎢金瓦;7-頂塊;8-掛油板
以上介紹了球磨機出料裝置的結構,供大家參考,如果您對這款球磨機設備感興趣的話,可以到河南紅星機器選購,該廠家是非常大的礦山設備生產廠家,生產的球磨機型號非常的多,重要的是質量有保證,價格還實惠,對于消費者來說非常的劃算,紅星機器球磨機選購熱線:0371-67772626。
本篇內容于 2018-02-27 11:26:37 已補充更新下一篇:影響破碎機生產效率的六大因素
想讓資深工程師為您設計生產方案?想獲取全套設備優惠報價單?請留言,專業經理即刻開始為您一對一服務?。ú挥脫男畔⑿孤叮覀儗榭蛻籼峁┬畔⒈C芊眨。?/p>
來廠考察即可獲取資深工程師為您設計方案
多機型現貨可選,簽訂合同,2天內發出
售后團隊親臨現場,指導設備安裝、試車,完成交付
跟蹤砂場運營情況,提供生產運營指導,保障砂場快速盈利
球磨機是礦石研磨加工過程中不可或缺的設備,隨著我國工業領域的迅速發展,對球磨機的需求量也越來越多,導致球磨機品牌也隨之增...
201608.04
查看詳情球磨機主要用于破碎后的物料的研磨作業,有干式和濕式兩種研磨方式,對物料的研磨效果非常的好,廣泛應用在水泥、耐火材料、玻璃...
201607.30
查看詳情球磨機是物料被破碎之后,再進行粉碎的關鍵設備,廣泛用于選礦、建材、化工等行業領域,紅星機器針對當前節能減排要求,研發的新...
201112.09
查看詳情球磨機具體類型很多,其差別在于所裝載的研磨介質、進出料方法、傳動與支承方式的不同。各種型式球磨機,現歸納如下。...
201107.19
查看詳情河南紅星礦山機器有限公司 總部地址:鄭州市高新區梧桐街與紅松路交叉口中國高端礦機生產出口基地園區
工程師免費設計方案已有162位獲得心儀的方案
算一算 搭配一條合適的生產線需要多少錢?
點擊獲取報價